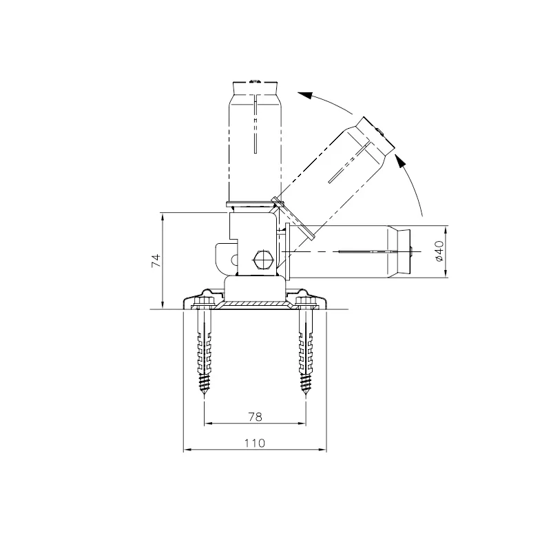
Anclaje articulado escalera piscina con pletina
- Anclaje articulado de acero inoxidable 18/8 (AISI-304) para escalera, tubo Ø43.
- Eje de giro con tornillo y tuerca autoblocante.
- Fijación en el suelo mediante los tornillos fijación
- Ref.08727
Características Técnicas
Anclaje articulado escalera piscina conpletina
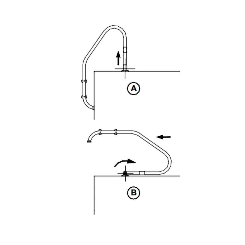
En el modelo con pletina procederemos a su fijación en el suelo mediante los tornillos fijación suministrados a tal efecto. Para el modelo con anclaje empotrado, deberemos introducir el anclaje articulado y proceder a su fijación.
Introduciremos en el pasamano el embellecedor anclaje y la tapeta anclaje , y seguidamente introduciremos el anclaje articulado en el pasamano hasta el máximo, en la posición de escalera abatida fijaremos el anclaje articulado a ésta mediante el apretado del tornillo DIN-912 M8 (4) hasta comprobar la solidez de dicha fijación.
Se deberá apretar el tornillo de basculación con su tuerca correspondiente para dar mayor rigidez al movimiento del anclaje
Ficha Técnica
- Fabricado en
- AISI-304
- Tipo de anclaje
- Pletinas
- Destino
- Accesorios montaje
También Te puede interesar




