Schwimmbad-Gelenkleiterverankerung mit Platte
- Gelenkanker aus Edelstahl 18/8 (AISI-304) für Leitern, Rohr Ø43.
- Gelenkwelle mit selbstsichernder Schraube und Mutter.
- Befestigung am Boden mittels Befestigungsschrauben
- Ref.08727
Technisch eigenschaften
Verankerung der Schwimmbad-Gelenkleiter mit Platte
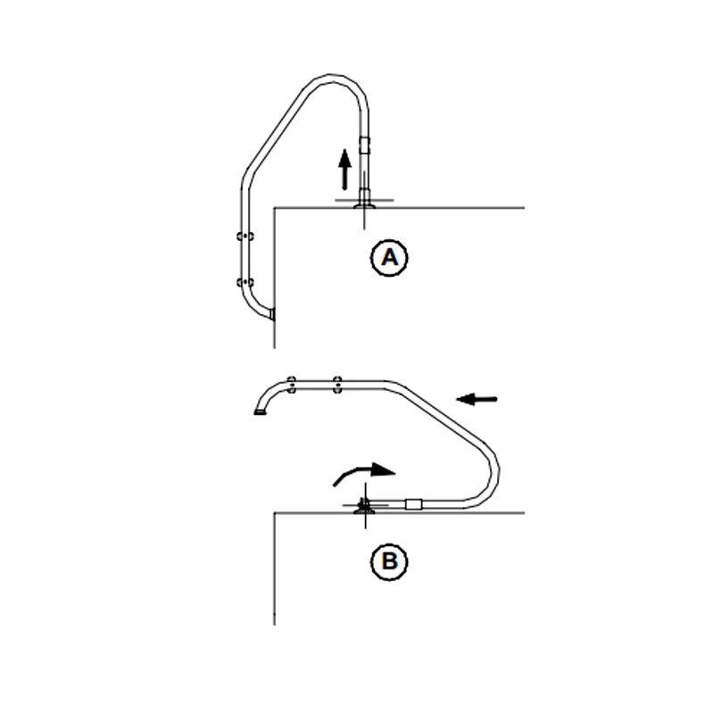
Beim Modell mit Platte wird die Leiter mit den mitgelieferten Befestigungsschrauben im Boden verankert. Bei dem Modell mit versenkter Verankerung muss die Gelenkverankerung eingesetzt und befestigt werden.
Setzen Sie die Ankerblende und die Ankerabdeckung in den Handlauf ein und führen Sie dann den Gelenkanker so weit wie möglich in den Handlauf ein. Befestigen Sie den Gelenkanker in der zusammengeklappten Leiterposition an der Leiter, indem Sie die Schraube DIN-912 M8 (4) anziehen, bis die Festigkeit der Befestigung geprüft ist.
Die Kippschraube sollte mit der zugehörigen Mutter angezogen werden, um eine größere Steifigkeit für die Bewegung des Ankers zu erreichen
Daten Blatt
- Gefertigt in
- AISI-304
- Art der Verankerung
- Platens
- Reiseziel
- Montagezubehör
Macht Auch wie
Zuletzt Angesehene Produkte
3 m Schwimmbad Sicherheitszaun Modul 16 mm schwarz
Salzchlorinator+ph-Regelung Astralpool Dual Pure 60
Salzchlorinator Astralpool Sel Pure 160
Hisbalit Rutschfestes Steinzeug der Klasse 3 für Schwimmbäder hellgrüner Nebel Modell TIRRENO




