Knikarm zwembadtrapverankering met plaat
- Scharnierend roestvrijstalen 18/8 (AISI-304) anker voor ladder, buis Ø43.
- Draaischacht met zelfborgende schroef en moer.
- Bevestiging aan de vloer door middel van bevestigingsschroeven
- Ref.08727
Technisch kenmerken
Knik zwembadtrap verankeren met plaat
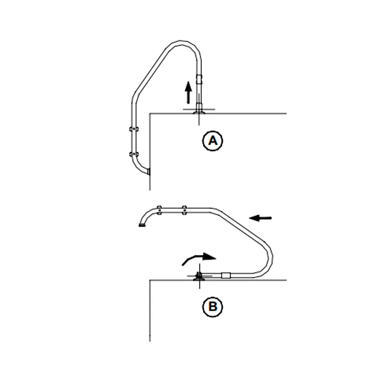
Bij het model met plaat gaan we over tot de bevestiging aan de grond met de bijgeleverde bevestigingsschroeven. Bij het model met verzonken verankering moeten we de scharnierende verankering plaatsen en bevestigen.
Plaats het ankergarnituur en de ankerdeksel in de leuning en plaats vervolgens het scharnieranker zo ver mogelijk in de leuning. Bevestig het scharnieranker in de ingeklapte ladderpositie aan de ladder door de DIN-912 M8 schroef (4) aan te draaien tot de sterkte van de bevestiging gecontroleerd is.
Draai de kantelbout vast met de bijbehorende moer om de beweging van het anker steviger te maken
Gegevens Blad
- Vervaardigd in
- AISI-304
- Type verankering
- Platens
- Bestemming
- Montagetoebehoren
Kan Ook als




