Ancrage d'échelle de piscine articulée avec plaque
- Ancrage articulé en acier inoxydable 18/8 (AISI-304) pour échelle, tube Ø43.
- Arbre pivotant avec vis et écrou autobloquants.
- Fixation au sol par vis de fixation
- Réf.08727
Technique caractéristiques
Ancrage de l'échelle de piscine articulée avec plaque
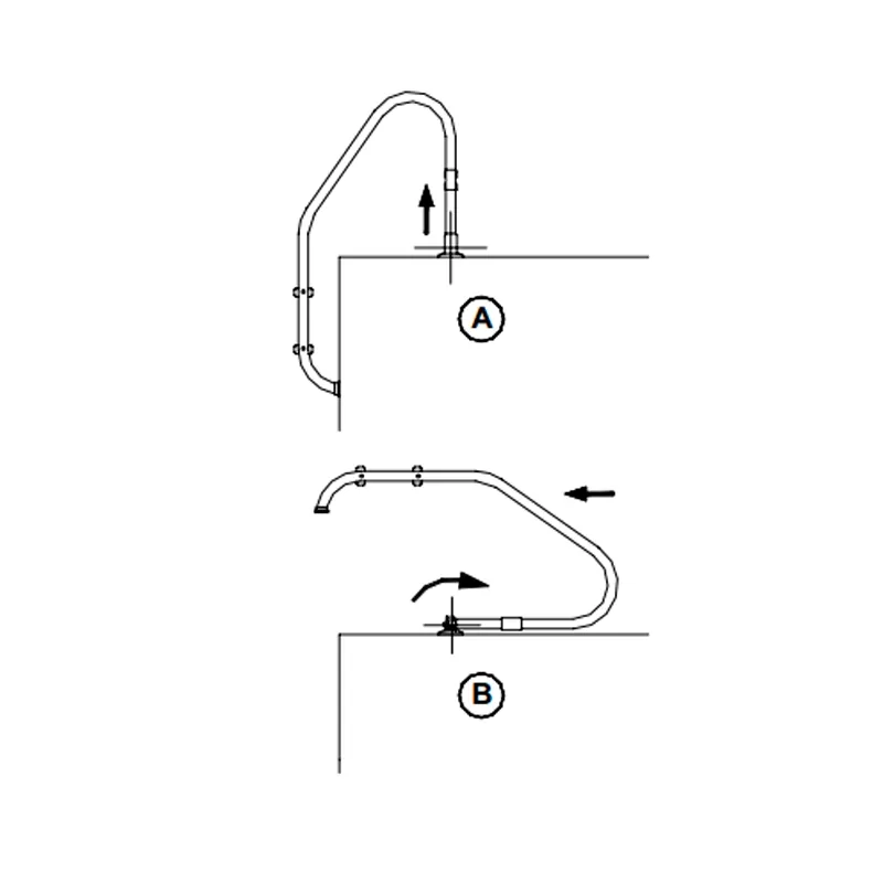
Dans le modèle avec plaque, nous procéderons à la fixation au sol à l'aide des vis de fixation fournies à cet effet. Pour le modèle avec ancrage encastré, il faut insérer l'ancrage articulé et procéder à sa fixation.
Insérer la garniture d'ancrage et le couvercle d'ancrage dans la main courante, puis insérer l'ancrage articulé dans la main courante le plus loin possible. En position échelle repliée, fixer l'ancrage articulé à l'échelle en serrant la vis DIN-912 M8 (4) jusqu'à ce que la solidité de la fixation soit vérifiée.
Le boulon d'inclinaison doit être serré avec son écrou correspondant pour donner une plus grande rigidité au mouvement de l'ancrage
Données Feuille
- Fabriqué en
- AISI-304
- Type d'ancrage
- Platines
- Destination
- Accessoires de montage
Puissant Également comme
Dernière Produits consultés
Nettoyeur de remplacement Aquatron Noir P Connecteur de câble de transformateur




