Ancoraggio a scala articolata per piscina con piastra
- Ancoraggio articolato in acciaio inox 18/8 (AISI-304) per scala, tubo Ø43.
- Albero di rotazione con vite e dado autobloccanti.
- Fissaggio al pavimento mediante viti di fissaggio
- Rif. 08727
Tecnica caratteristiche
Ancoraggio della scala articolata per piscina con piastra
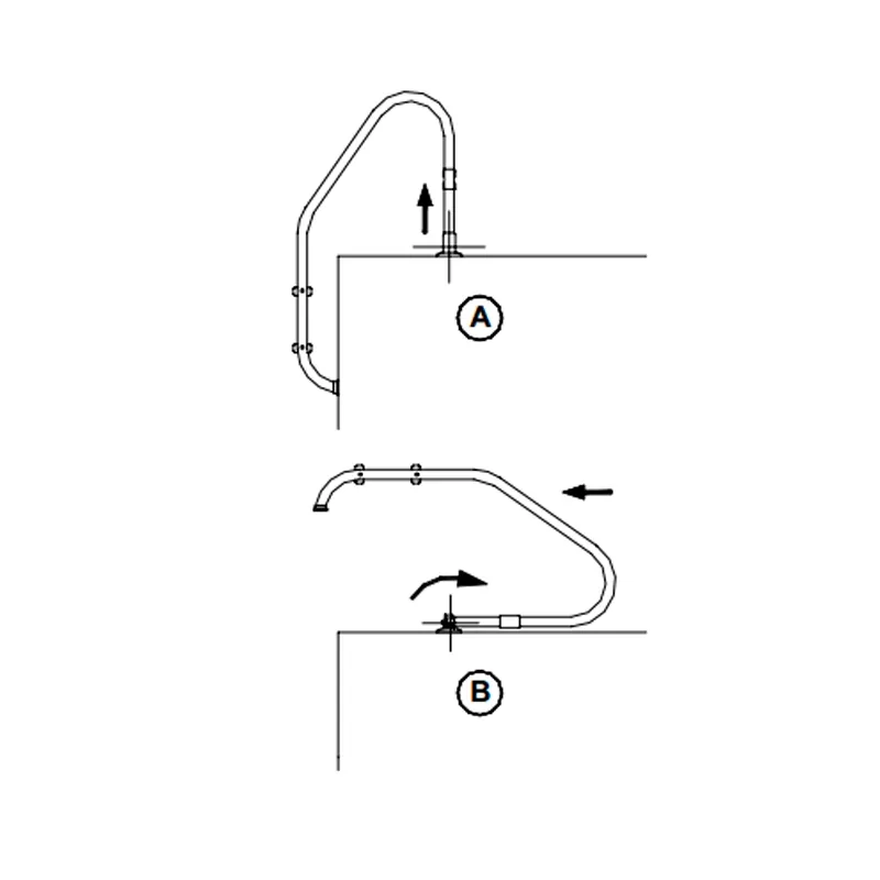
Nel modello con piastra, si procederà al fissaggio a terra utilizzando le viti di fissaggio fornite a questo scopo. Per il modello con ancoraggio incassato, dovremo inserire l'ancoraggio articolato e procedere al fissaggio.
Inserire il rivestimento dell'ancoraggio e la copertura dell'ancoraggio nel corrimano, quindi inserire l'ancoraggio articolato nel corrimano il più possibile. In posizione di scala ripiegata, fissare l'ancoraggio articolato alla scala stringendo la vite DIN-912 M8 (4) fino a verificare la forza del fissaggio.
Il bullone di ribaltamento deve essere serrato con il dado corrispondente per dare maggiore rigidità al movimento dell'ancoraggio
Dati Foglio
- Prodotto in
- AISI-304
- Tipo di ancoraggio
- Platani
- Destinazione
- Accessori di montaggio
Potente Anche come




